|
文水县民政局行政给付权力清单和责任清单 |
|||||||||
|
权力清单 |
责任清单 |
备注 |
|||||||
|
职权类别 |
职权编码 |
职权名称 |
职权依据 |
责任事项 |
追责情形 |
追责依据 |
追责 |
||
|
行政 给付 |
01265017-4-JF-0016 |
义务兵家庭优待金发放 |
【行政法规】 《军人抚恤优待条例》(国务院、中央军事委员会令第413号) |
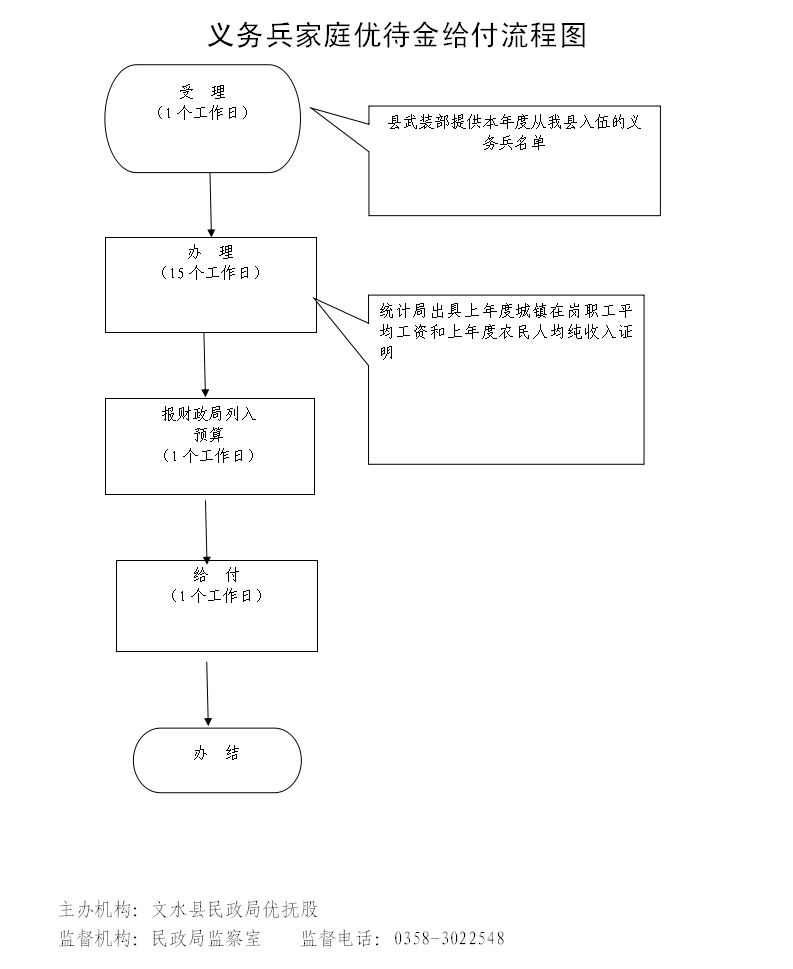
1、受理责任:按照县武装部报供本年度从我县入伍的义务兵名单,将城镇入伍、农村入伍及所属乡镇区分制表。 |
因不履行或不正确履行行政职责,有下列情形的,行政机关及相关工作人员应承担相应责任:1、故意刁难申请人;2、对不符合条件的予以受理,对符合条件的不予受理或无正当理由拖延受理;3、不能一次告知所需材料;4、不严格审查申报材料,对存在问题故意隐瞒;5、不严格审查或故意让虚假资料通过;6、违反规定程序进行审批的;7、久拖不批或无故拖延办理;8、索取或收受他人财物或者谋取其他利益;9、其他违反法律法规规章文件规定的行为。 |
【法律】《中华人民共和国公务员法》第五十三条至五十五条。 【行政法规】《行政机关公务员处分条例(国务院第495令);【规章】《事业单位工作人员处分暂行规定》(人社部、监察部18号令) 【地方性法规】《山西省行政执法条例》第十三条、第四十至四十二条; 【党内法规】《中国共产党纪律处分条例》; 【规范性文件】《山西省行政机关及其工作人员行政过错责任追究暂行办法 》;《吕梁市行政执法责任追究暂行办法》第八条、第二十三条、第二十四条、第二十五条。 |
(一)行政处理 1、诫勉谈话或者责令书面检讨; 2、通报批评; 3、暂扣行政执法证件; 4、责令离岗培训; 5、调离执法岗位 6、取消执法资格; 7、依法追偿部分或者全部行政赔偿费用。 (二)行政处分:警告、记过、记大过、降级、撤职、开除。 (三)党纪处分:警告、严重警告、撤销党内职务、留党察看、开除党籍。 (四)其他法律责任 |
|
|

