文水县水利水保局权力和责任清单
|
权力清单 |
责任清单 |
备注 |
||||||
|
职权类别 |
职权 编码 |
职权 名称 |
职权依据 |
责任事项 |
追责情形 |
追责依据 |
追责形式 |
|
|
其他权利 |
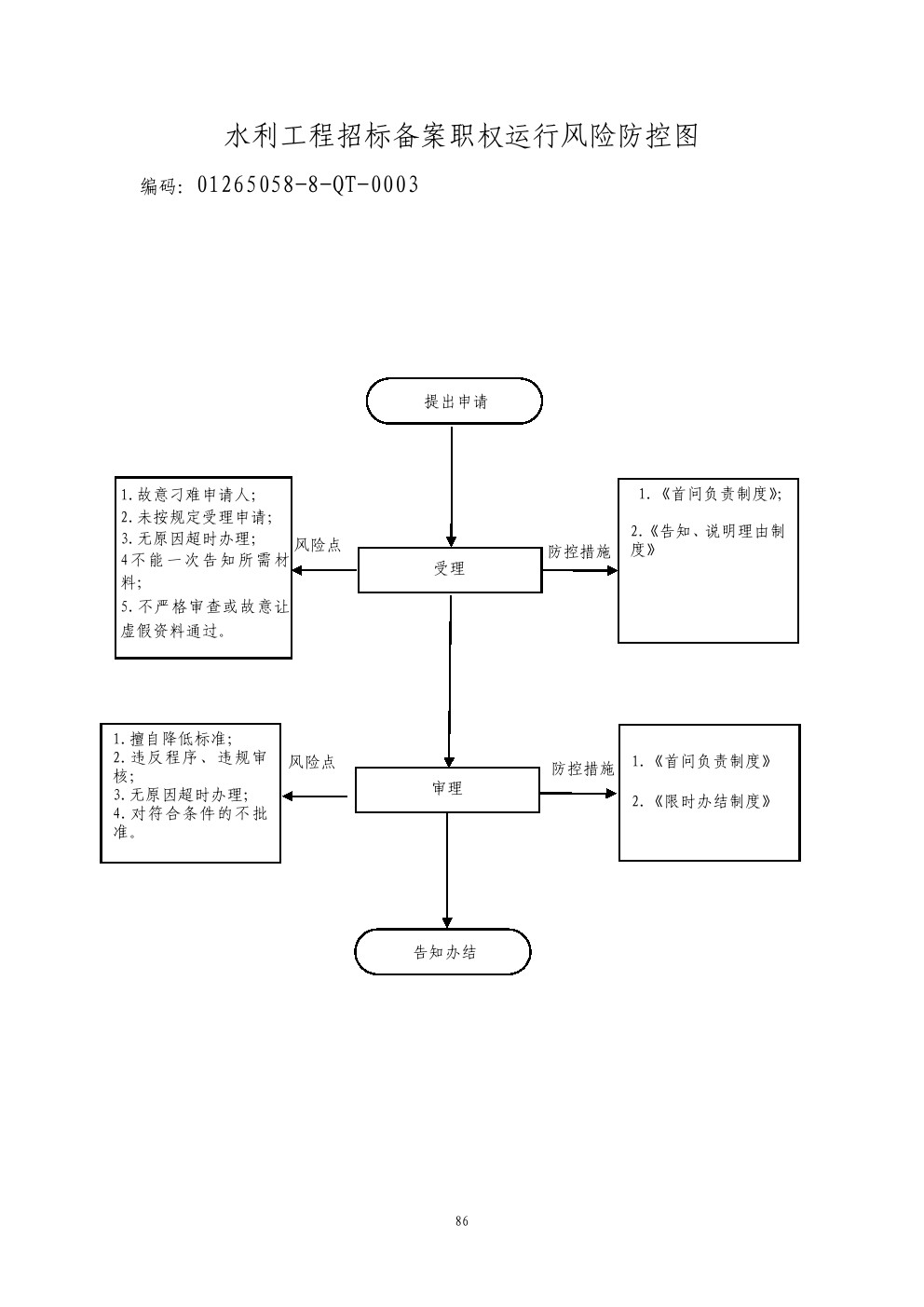
01265058-8-QT-0003 |
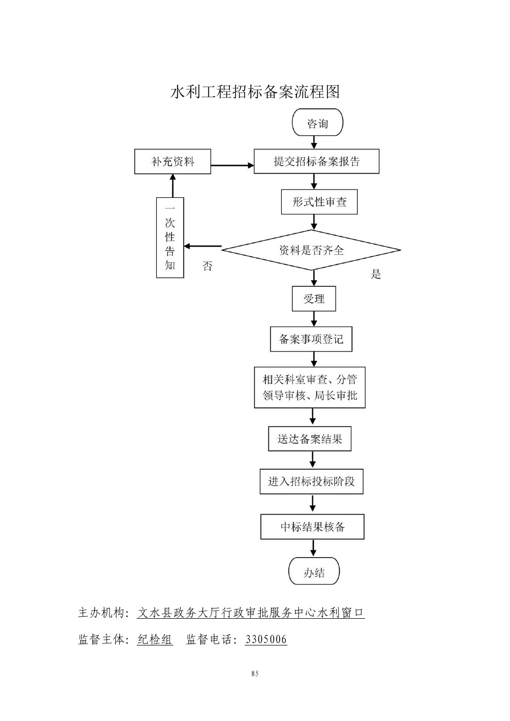
水利工程招标备案 |
【部门规章】《水利工程建设项目招标投标管理规定》(2001年水利部令第14号) |
1、受理责任:告知水利工程招标备案应当提交的材料,一次性告知补正材料,依法受理或不受理(不予受理应当告知理由); 2、审查责任:对照条件和标准,对水利工程招标备案书面申请材料进行审核; 3、决定责任:同意水利工程招标备案;4、送达责任:核发中标通知书。 |
1、对符合法定条件的申请不予受理的; 2、对不符合法定条件的申请人准予受理或者超越法定职权受的; 3、对符合法定条件的申请人不予审查或者不在法定期限内备的; 4、违反法定程序进行备案的; 5、工作中玩忽职守、滥用职权的; 6、备案过程中,索取或者收受他人财物或者谋取其他利益; 7、其他违反法律法规规章文件规定的行为。 |
【法律】《中华人民共和国公务员法》第五十三条至五十五条。 【行政法规】《行政机关公务员处分条例》(国务院第495号令); 【地方性法规】《山西省行政执法条例》第十三条、第四十至四十二条; 【党内法规】《中国共产党纪律处分条例》; 【规范性文件】《山西省行政机关及其工作人员行政过错责任追究暂行办法 》; 《吕梁市行政执法责任追究暂行办法》第十八、第二十三、二十四、二十五条。 |
(一)行政处理 1、诫勉谈话或者责令书面检讨; 2、通报批评; 3、暂扣行政执法证件; 4、责令离岗培训; 5、调离执法岗位 6、取消执法资格; 7、依法追偿部分或者全部行政赔偿费用。 (二)行政处分:警告、记过、记大过、降级、撤职、开除。 (三)党纪处分:警告、严重警告、撤销党内职务、留党察看、开除党籍。 (四)其他法律责任
|
|

